Papers by Michael Morin

Ant Colony Optimization for Path Planning in Search and Rescue Operations
European Journal of Operational Research, 2023
In search and rescue operations, an efficient search path, colloquially understood as a path maxi... more In search and rescue operations, an efficient search path, colloquially understood as a path maximizing the probability of finding survivors, is more than a path planning problem. Maximizing the objective adequately, i.e., quickly enough and with sufficient realism, can have substantial positive impact in terms of human lives saved. In this paper, we address the problem of efficiently optimizing search paths in the context of the NP-hard optimal search path problem with visibility, based on search theory. To that end, we evaluate and develop ant colony optimization algorithm variants where the goal is to maximize the probability of finding a moving search object with Markovian motion, given a finite time horizon and finite resources (scans) to allocate to visible regions. Our empirical results, based on evaluating 96 variants of the metaheuristic with standard components tailored to the problem and using realistic size search environments, provide valuable insights regarding the best algorithm configurations. Furthermore, our best variants compare favorably, especially on the larger and more realistic instances, with a standard greedy heuristic and a state-of-the-art mixed-integer linear program solver. With this research, we add to the empirical body of evidence on an ant colony optimization algorithms configuration and applications, and pave the way to the implementation of search path optimization in operational decision support systems for search and rescue.

Proceedings of the 2016 conference on Applied Mathematical Programming and Modelling, 2016
In this paper, we present work conducted in order to explain the results of a commercial software... more In this paper, we present work conducted in order to explain the results of a commercial software used for real-time decision support for the flow management of a combined wastewater network. This tool is deployed in many major cities and is used on a daily basis. We apply decision trees to build rules for classifying and interpreting the solutions of the optimization model. Our main goal is to build a classifier that would help a user understand why a proposed solution is good and why other solutions are worse. We demonstrate the feasibility of the approach to our industrial application by generating a large dataset of feasible solutions and classifying them as satisfactory or unsatisfactory based on whether the objective function is a certain percentage higher than the optimal (minimum) objective. We evaluate the performance of the learned classifier on unseen examples. Our results show that our approach is very promising according to reactions from analysts and potential users.

Machine Learning-Based Metamodels for Sawing Simulation
Proceedings of the 2015 Winter Simulation Conference, Dec 2015
We use machine learning to generate metamodels for sawing simulation. Simulation is widely used i... more We use machine learning to generate metamodels for sawing simulation. Simulation is widely used in the wood industry for decision making. These simulators are particular since their response for a given input is a structured object, i.e., a basket of lumbers. We demonstrate how we use simple machine learning algorithms (e.g., a tree) to obtain a good approximation of the simulator's response. The generated metamodels are guaranteed to output physically realistic baskets (i.e., there exists at least one log that can produce the basket). We also propose to use kernel ridge regression. While having the power to exploit the structure of a basket, it can predict previously unseen baskets. We finally evaluate the impact of possibly predicting unrealistic baskets using ridge regression jointly with a nearest neighbor approach in the output space. All metamodels are evaluated using standard machine learning metrics and novel metrics especially designed for the problem.
Principles and Practice of Constraint Programming, Sep 2015
In search theory, the goal of the Optimal Search Path (OSP) problem is to find a finite length pa... more In search theory, the goal of the Optimal Search Path (OSP) problem is to find a finite length path maximizing the probability that a searcher detects a lost wanderer on a graph. We propose to bound the probability of finding the wanderer in the remaining search time by relaxing the problem into a stochastic game of cop and robber from graph theory. We discuss the validity of this bound and demonstrate its effectiveness on a constraint programming model of the problem. Experimental results show how our novel bound compares favorably to the DMEAN bound from the literature, a state-of-the-art bound based on a relaxation of the OSP into a longest path problem.
Doctoral Program CP 2014, Sep 2014
In the Optimal Search Path problem from search theory, the objective is to find a finite length s... more In the Optimal Search Path problem from search theory, the objective is to find a finite length searcher's path that maximizes the probability of detecting a lost wanderer on a graph. We introduce a novel bound on the probability of finding the wanderer in the remaining search time and discuss how this bound is derived from a relaxation of the problem into a game of cop and robber from graph theory. We demonstrate the efficiency of this bound on a constraint programming model of the problem.

Integration of AI and OR Techniques in Constraint Programming for Combinatorial Optimization Problems, May 2014
We introduce a novel global Markov transition constraint (Mtc) to model finite state homogeneous ... more We introduce a novel global Markov transition constraint (Mtc) to model finite state homogeneous Markov chains. We present two algorithms to filter the variable domains representing the imprecise probability distributions over the state space of the chain. The first filtering algorithm is based on the fractional knapsack problem and the second filtering algorithm is based on linear programming. Both of our filtering algorithms compare favorably to the filtering performed by solvers when decomposing an Mtc into arithmetic constraints. Cases where the fractional knapsack decomposition enforces bounds consistency are discussed whereas the linear programming filtering always perform bounds consistency. We use the Mtc constraint to model and solve a problem of path planning under uncertainty.

Proceedings of the IEEE/RSJ International Conference on Intelligent Robots and Systems (IROS 2013), 2013
We are interested in the coverage path planning problem with imperfect sensors, within the contex... more We are interested in the coverage path planning problem with imperfect sensors, within the context of robotics for mine countermeasures. In the studied problem, an autonomous underwater vehicle (AUV) equipped with sonar surveys the bottom of the ocean searching for mines. We use a cellular decomposition to represent the ocean floor by a grid of uniform square cells. The robot scans a fixed number of cells sideways with a varying probability of detection as a function of distance and of seabed type. The goal is to plan a path that achieves the minimal required coverage in each cell while minimizing the total traveled distance and the total number of turns. We propose an off-line hybrid algorithm based on dynamic programming and on a traveling salesman problem reduction. We present experimental results and show that our algorithm’s performance is superior to published results in terms of path quality and computational time, which makes it possible to implement the algorithm in an AUV.
Proceedings of the 10th International ISCRAM Conference, 2013
We present a methodology to construct optimal visibility graphs from vector and raster terrain da... more We present a methodology to construct optimal visibility graphs from vector and raster terrain data based on the integration of Geographic Information Systems, computational geometry, and integer linear programming. In an emergency situation, the ability to observe an environment, completely or partially, is crucial when searching an area for survivors, missing persons, intruders or anomalies. We first analyze inter-visibility using computational geometry and GIS functions. Then, we optimize the visibility graphs by choosing vertices in a way to either maximize coverage with a given number of watchers or to minimize the number of watchers needed for full coverage.
Lecture Notes in Computer Science, 2012
The optimal search path (OSP) problem is a single-sided detection search problem where the locati... more The optimal search path (OSP) problem is a single-sided detection search problem where the location and the detectability of a moving object are uncertain. A solution to this N P-hard problem is a path on a graph that maximizes the probability of finding an object that moves according to a known motion model. We developed constraint programming models to solve this probabilistic path planning problem for a single indivisible searcher. These models include a simple but powerful branching heuristic as well as strong filtering constraints. We present our experimentation and compare our results with existing results in the literature. The OSP problem is particularly interesting in that it generalizes to various probabilistic search problems such as intruder detection, malicious code identification, search and rescue, and surveillance.

Principles and Practice of Constraint Programming, 2012
The optimal search path (OSP) problem is a single-sided detection search problem where the locati... more The optimal search path (OSP) problem is a single-sided detection search problem where the location and the detectability of a moving object are uncertain. A solution to this NP-hard problem is a path on a graph that maximizes the probability of finding an object that moves according to a known motion model. We developed constraint programming models to solve this probabilistic path planning problem for a single indivisible searcher. These models include a simple but powerful branching heuristic as well as strong filtering constraints. We present our experimentation and compare our results with existing results in the literature. The OSP problem is particularly interesting in that it generalizes to various probabilistic search problems such as intruder detection, malicious code identification, search and rescue, and surveillance.
73rd Meeting of the European Working Group MCDA, 2011
Search and Rescue operations involve the efficient allocation of available resources in order to ... more Search and Rescue operations involve the efficient allocation of available resources in order to locate a lost search object caught in a critical situation (e.g., the survivors of an aeronautical incident). In this paper, we describe our work in progress for developing a multi-criteria inland search operations planning method. The method uses geographic information system tools, visibility and accessibility graphs discretization, metaheuristics and search theory.
Proceedings of the XV ELAVIO, 2010

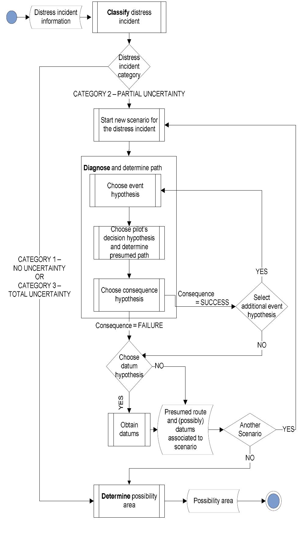
The long-term objective of our project is to develop a knowledge-based tool for Search and Rescue... more The long-term objective of our project is to develop a knowledge-based tool for Search and Rescue (SAR) operations to support a Canadian search mission coordinator in determining the likely location of a missing aircraft overland. In order to attain this objective, we used a knowledge engineering approach to acquire, structure and model SAR experts’ knowledge. This knowledge was modeled and implemented in a knowledge-based system prototype. The input to the interactive prototype consists of the known information regarding a given SAR case. Its main output is a set of scenarios describing the various hypotheses on what might have happened to the missing aircraft, why and where, the plausible routes followed, as well as the possibility area, defined as the region most likely to contain the missing aircraft. In this paper, we introduce the knowledge model, present an application example and briefly describe the prototype.
Advances in Artificial Intelligence, 2010
In the first part of this paper, we present the Optimal Searcher Path problem with Visibility, a ... more In the first part of this paper, we present the Optimal Searcher Path problem with Visibility, a novel path planning approach that models inter-region visibility and that uses concepts from search theory to model uncertainty on the goal’s (i.e., the search object) detectability and location. In the second part, we introduce the Ant Search algorithm, a solving technique based on ant colony optimization. Our results, when compared with a general mixed-integer programming model and solver, show that Ant Search is a promising technique for handling this particular complex problem.

Proceedings of the 12th International Conference on Information Fusion, 2009
In this paper, the problem of path planning for a ground search unit looking for an object of unk... more In this paper, the problem of path planning for a ground search unit looking for an object of unknown location is considered. As in the classical optimal searcher path problem, the probability of finding the search object is the main criterion of optimality and the search unit is constrained by the environment topology that influences its choices for a navigable path as well as its detection capabilities. This paper proposes an extension to the classical optimal searcher path problem in discrete time and space by integrating inter-region visibility as an additional criterion. This new formulation allows a refinement in the discretization of the space in which a ground search unit evolves. A general mixed-integer programming model is proposed, and experimental results with a moving object in grid environments are discussed.
Theses and Reports by Michael Morin

We tackle two different and complementary problems: the Coverage Path Planning (CPP) and the Opti... more We tackle two different and complementary problems: the Coverage Path Planning (CPP) and the Optimal Search Path (OSP). The CPP is a main challenge in mobile robotics. The OSP is a classic from search theory. We first present a review of both problems that highlights their differences and their similarities from the point of view of search (coverage) operations. Both problems are positioned on the continuum of the a priori knowledge on the whereabouts of a search object. We then formalize an extension of the CPP we call the CPP with imperfect extended detections (CPPIED). We present a novel and powerful heuristic algorithm that uses dynamic programming and a traveling salesman (TSP) reduction. We apply the method to underwater minesweeping operations on maps with more than 21 thousand cells. We then study a novel Constraint Programming (CP) model to solve the OSP. We first improve on using the classical objective function found in the OSP definition. Our novel objective function, involving a single modification of the operators used to compute the probability of success of a search plan, leads to a stronger filtering of the probability variables of the model. Then, we propose a novel heuristic for the OSP: the Total Detection (TD) heuristic. Experiments show that our model, along with the proposed heuristic, is competitive with problem-specific Branch and Bounds supporting the claim that CP is a good technique to solve search theory problems. We finally propose the Markov Transition Constraint (MTC) as a novel modeling tool in CP to simplify the implementation of models based on Markov chains. We prove, both empirically and theoretically, that interval arithmetic is insufficient to filter the probability variables of a single MTC, i.e., to enforce bounds consistency on these variables. Interval arithmetic is the only available tool to filter an MTC when it is decomposed into individual arithmetic constraints. We thus propose an algorithm based on linear programming which is proved to enforce bounds consistency. Since linear programming is computationally expensive to use at each node of the search tree of a CP solver, we propose an in-between solution based on a fractional knapsack filtering. The MTC global constraint usage is illustrated on a CP model of the OSP.

How can search theory and path planning concepts be used to formulate and to solve detection sear... more How can search theory and path planning concepts be used to formulate and to solve detection search problems in the context of a ground SAR operation while taking into account practical aspects such as terrain visibility constraints? As an answer to this research question, we have formulated a novel detection search problem to include the searcher’s visibility constraints (the Optimal Searcher Path problem with Visibility) and we developed solving techniques for the single criterion and for the multi-criteria cases. In the single criterion case, the search plan’s efficiency corresponds to the probability of finding the search object (i.e., the goal); a mixed integer linear program is presented and compared to our novel Ant Colony Optimization adaptation called Ant Search. The multi-criteria case introduces the searcher’s security and the plan’s complexity as supplementary efficiency criteria; the initial Ant Search algorithm is extended to Pareto Ant Search and to Lexicographic Ant Search.
An algorithm for the optimal search path with visibility problem
Talks and Seminars by Michael Morin
CORS 2014 Annual Conference
We present a formalism for a bicriteria coverage path planning with extended imperfect detection.... more We present a formalism for a bicriteria coverage path planning with extended imperfect detection. In our application, a robot surveys the bottom of the ocean (discretized as a grid) searching for mines. A sonar scans the cells sideways along the robot's path. The probability of mine detection detection is a function of distance and of seabed type. An efficient path, i.e., a path of minimal moves and turns, must achieve the required coverage of each cell. We discuss a novel algorithm based on dynamic programming and on a traveling salesman problem reduction.
Related paper:
M. Morin, I. Abi-Zeid, Y.R. Petillot, and C.G. Quimper, “A Hybrid Algorithm for Coverage Path Planning with Imperfect Sensors,” in Proceedings of the IEEE/RSJ International Conference on Intelligent Robots and Systems (IROS 2013), Tokyo, Japan, 2013.

M. Morin, “Hybrid Algorithm for Coverage Path Planning With Imperfect Sensors (Un algorithme hybr... more M. Morin, “Hybrid Algorithm for Coverage Path Planning With Imperfect Sensors (Un algorithme hybride pour la planication de chemins couvrants avec capteurs imparfaits),” seminar given at the Séminaires départementaux, Québec, QC, Canada, January 31, 2014.
Abstract. We are interested in the coverage path planning problem with imperfect sensors, within the context of robotics for mine countermeasures. In the studied problem, an autonomous underwater vehicle (AUV) equipped with sonar surveys the bottom of the ocean searching for mines. We use a cellular decomposition to represent the ocean floor by a grid of uniform square cells. The robot scans a fixed number of cells sideways with a varying probability of detection as a function of distance and of seabed type. The goal is to plan a path that achieves the minimal required coverage in each cell while minimizing the total traveled distance and the total number of turns. We propose an off-line hybrid algorithm based on dynamic programming and on a traveling salesman problem reduction. We present experimental results and show that our algorithm’s performance is superior to published results in terms of path quality and computational time, which makes it possible to implement the algorithm in an AUV.
Résumé. Nous nous intéressons aux problèmes de couverture avec capteurs imparfaits dans le contexte des opérations de déminage robotisées. Dans le problème étudié, un véhicule autonome sous-marin (AUV) équipé d’un sonar balaye le fond marin à la recherche de mines. Dans notre formalisme, le fond marin est discrétisé par une grille uniforme de cellules carrées et un nombre constant de cellules est balayé par le capteur de chaque côté du robot au fil de ses mouvements. La probabilité de détecter une mine lors du balayage d’une cellule distante est fonction de deux paramètres : la distance entre la position du robot et la cellule balayée ainsi que le type de fond marin de la cellule balayée. L’objectif est de trouver le chemin de longueur minimale avec le moins de virages possible atteignant la couverture minimale requise dans chacune des cellules (définie en termes de probabilité de détection). Nous proposons un algorithme hybride basé sur la programmation dynamique qui utilise une réduction vers le problème du voyageur de commerce (TSP). Par nos résultats expérimentaux, nous démontrons l’efficacité de l’algorithme en termes de qualité de la solution et de temps de calcul par rapport aux résultats précédemment publiés rendant ainsi l’algorithme utilisable dans un contexte pratique.
Uploads
Papers by Michael Morin
Theses and Reports by Michael Morin
Talks and Seminars by Michael Morin
Related paper:
M. Morin, I. Abi-Zeid, Y.R. Petillot, and C.G. Quimper, “A Hybrid Algorithm for Coverage Path Planning with Imperfect Sensors,” in Proceedings of the IEEE/RSJ International Conference on Intelligent Robots and Systems (IROS 2013), Tokyo, Japan, 2013.
Abstract. We are interested in the coverage path planning problem with imperfect sensors, within the context of robotics for mine countermeasures. In the studied problem, an autonomous underwater vehicle (AUV) equipped with sonar surveys the bottom of the ocean searching for mines. We use a cellular decomposition to represent the ocean floor by a grid of uniform square cells. The robot scans a fixed number of cells sideways with a varying probability of detection as a function of distance and of seabed type. The goal is to plan a path that achieves the minimal required coverage in each cell while minimizing the total traveled distance and the total number of turns. We propose an off-line hybrid algorithm based on dynamic programming and on a traveling salesman problem reduction. We present experimental results and show that our algorithm’s performance is superior to published results in terms of path quality and computational time, which makes it possible to implement the algorithm in an AUV.
Résumé. Nous nous intéressons aux problèmes de couverture avec capteurs imparfaits dans le contexte des opérations de déminage robotisées. Dans le problème étudié, un véhicule autonome sous-marin (AUV) équipé d’un sonar balaye le fond marin à la recherche de mines. Dans notre formalisme, le fond marin est discrétisé par une grille uniforme de cellules carrées et un nombre constant de cellules est balayé par le capteur de chaque côté du robot au fil de ses mouvements. La probabilité de détecter une mine lors du balayage d’une cellule distante est fonction de deux paramètres : la distance entre la position du robot et la cellule balayée ainsi que le type de fond marin de la cellule balayée. L’objectif est de trouver le chemin de longueur minimale avec le moins de virages possible atteignant la couverture minimale requise dans chacune des cellules (définie en termes de probabilité de détection). Nous proposons un algorithme hybride basé sur la programmation dynamique qui utilise une réduction vers le problème du voyageur de commerce (TSP). Par nos résultats expérimentaux, nous démontrons l’efficacité de l’algorithme en termes de qualité de la solution et de temps de calcul par rapport aux résultats précédemment publiés rendant ainsi l’algorithme utilisable dans un contexte pratique.